西安住建局:西安市優化建筑市場營商環境二十四條措施
近日,西安市住房和城鄉建設局為進一步優化建筑市場營商環境,激發市場主體活力,推動建筑行業高質量發展,印發《西安市優化建筑市場營商環境二十四條措施》。
原文如下:

各區縣、西咸新區、各開發區住建局,局機關各處室、直屬事業單位,相關建筑行業協會,各建筑業企業:
為進一步優化建筑市場營商環境,激發市場主體活力,推動建筑行業高質量發展,現將《西安市優化建筑市場營商環境二十四條措施》印發給你們,請認真貫徹執行。
西安市住房和城鄉建設局
2023年5月6日
西安市優化建筑市場營商環境二十四條措施
為推動建筑行業高質量發展、支持企業轉型升級、提升建筑市場營商環境,現結合實際,制定如下措施:
一、聚焦建筑行業發展轉型升級
(一)支持企業做大做強。對晉升特級(綜合)資質的施工、設計、監理企業和年度首次建筑業產值達到一定規模的施工企業,在評優評先、資質增項方面予以支持。
(二)創新工程建設組織模式。鼓勵政府投資項目優先采用工程總承包或全過程咨詢模式組織施工,在全市范圍內培育一批工程總承包和全過程咨詢企業,孵化一批工程總承包和全過程咨詢試點項目。
(三)建立綠色金融支持體系。充分運用金融部門的綠色金融政策導向,暢通銀企溝通合作渠道,為城鄉建設綠色發展項目爭取綠色金融支持。
(四)激發企業爭創精品。鼓勵工程項目甲乙雙方在合同條款中約定,增列優質優價費計入工程造價,對獲得國家、省級和市級優質工程質量獎項的,分別按不低于工程結算造價1.5%、1.0%和0.8%的標準計取費用;將國家、省市級認定的裝配式建筑、綠色施工、智能建造等觀摩示范項目直接評為“市級文明工地”,并列入“雁塔杯”工程獎評選范圍。
(五)推進建筑勞務用工制度改革。支持鼓勵有實力的建筑企業、職業院校加入建設行業職業教育培訓隊伍,對自有工人開展職業教育培訓并統一發放證書。倡導企業及技術工人參加“長安建筑大工匠”“西安市高技能人才培訓基地”“西安市技能大師工作室”“西安市首席技師”評選,打造具有地方行業特色、引領高技能操作水平的建筑工匠隊伍。
(六)舉辦“智能建造”大講堂活動。邀請相關企業、高校、研究院專家學者,組建“智能建造”講師團隊開展系列講座。積極探索新的政策體系、發展路徑和監管模式,加強工業化、數字化、智能化技術集成應用推廣力度,引領帶動行業提質增效。
二、聚焦服務保障水平逐步提高
(七)扎實開展企業包抓幫扶。開展“助企送服務”活動,對2022年產值10億元以上的重點建筑業企業進行“一對一”包抓,摸清企業現狀、了解企業困難、傾聽企業訴求、解決企業問題,推進建筑業企業健康發展。
(八)搭建政企雙向交流平臺。發揮住建部門行業牽頭作用,聯合發改、交通、水利等市級部門和城投集團、安居集團、軌道交通集團等市級平臺公司,不定期與重點建筑業企業進行會商交流,支持本地企業平等參與交通、能源、水利、基礎設施等重大項目建設。
(九)做好重點企業培育扶持。建立重點建筑企業培育名錄,搭建重點企業扶持“綠色通道”,支持符合條件的施工總承包和設計企業積極申請資質升級、增項。
(十)完善材料價格信息采集發布機制。推進工程造價指標信息數據庫的建立完善,優化建筑材料價格采集機制,提高材料價格信息的及時性,定期發布《西安造價信息》,為市場各方在項目決策、成本控制等方面提供參考。
(十一)提高項目策劃生成效率。深化工程建設項目審批管理系統和“一張圖”等系統平臺的互聯互通和數據共享,加快推進工程建設項目前期策劃生成規范化、制度化,簡化項目后續審批手續,加快項目落地開工、投產投效速度。
(十二)優化竣工驗收流程。對辦理一個建設工程規劃許可證但涉及多個單位工程的工業廠房、倉庫類工程建設項目,在符合項目整體質量安全要求、達到安全使用條件的前提下,對已滿足使用功能的單位工程開展單獨竣工驗收。
(十三)指導行業協會發揮作用。引導行業協會進行精簡、整合,指導協會開展行業調查、行業統計和行業標準制定等工作,充分發揮協會在政企雙向的“傳送帶”“分流器”和“上掛下聯”作用,為企業提供更好的服務。
三、聚焦企業經營需求盤活資源
(十四)加大城建領域投資力度。全年完成城建投資1200億元以上,市本級投資增加10%以上,保障城建項目和運行類剛性支出,發揮好財政資金對穩增長、促投資的引領作用。
(十五)建立政金企融資對接協調機制。聯合金融工作管理部門定期摸排有融資需求的建筑施工、勘察設計、裝配式等企業,建立重點企業“白名單”。調動金融機構與企業積極性,實現有效銜接,擴大信貸投放,為全市項目建設、建筑業企業發展提供資金支持。
(十六)全面推行施工過程結算。全面推行工程建設領域過程結算,工程預付款不得低于合同總價(扣除暫列金額)的10%,工程完工后,除按規定預留質量保證金外,其余工程款應全部支付,任何單位不得以未進行或未完成審計為由延期結算。
(十七)做好項目生產要素保障。聚焦“人、材、機”生產要素,引導兩類企業建立商品混凝土等材料交易的信息化渠道,轉變經營模式,加速傳統產業與信息化深入融合;聯合人力資源管理部門對有用工需求的企業召開建筑類專場招聘會,為企業和求職者搭建專業化對接平臺。
(十八)增調安全文明施工費率。加大對安全文明措施費一次性支付的督導檢查力度,啟動安全文明施工費調研測算工作,爭取增調安全文明措施費中的揚塵污染治理費費率,進一步降低建筑企業經營成本。
(十九)加快勞保統籌費用返還。通過簡化資料、優化流程、推行承諾制等措施加快辦理勞保費返還,2023年計劃返還10億元以上,有效緩解企業資金困難。
四、聚焦建筑市場環境不斷優化
(二十)持續凈化建筑市場環境。開展建筑市場“三包一掛”專項整治行動,嚴厲打擊違法發包、轉包、分包及掛靠等違法違規行為,建設公平、公開、公正、競爭有序的建筑市場。
(二十一)做好農民工工資拖欠防治。構建“1+1+4”防欠治欠工作體系,成立清欠工作小組,同人力資源管理部門聯合構建根治欠薪聯動機制,打好清欠工作“組合拳”,切實維護農民工合法權益。
(二十二)構建以信用為核心的監管機制。搭建涵蓋“建設、施工、監理、勘察、設計”的住建領域市場主體信用平臺,定期發布企業信用風險等級,實施差異化監管,積極推行信用結果跨行聯動、互認共享,促進建筑市場各方主體誠信守法經營。
(二十三)強化安責險服務功能。完善安責險事故預防服務體系,實行第三方服務機構名錄庫動態管理制度,強化保險機構事故預防技術服務規范落實、高效開展,切實助力企業防范安全風險。
(二十四)推行包容審慎監管。對施工過程中發現的輕微違法的初次違法行為,采取上門監督服務、主動指導、預先提醒、告知承諾等措施,對及時糾正的,不予行政處罰,引導企業自覺遵守法律法規。
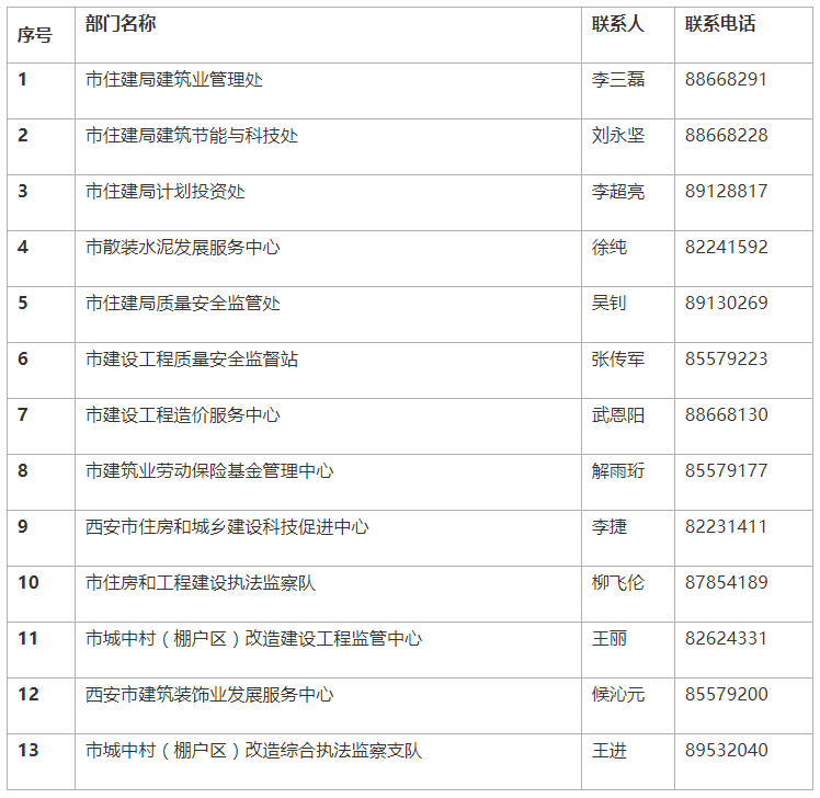
附件:涉及部門聯系方式
附件
涉及部門聯系方式

下一篇: 持續招投標創新改革 優化營商環... 上一篇: 住建部:即日起,廢止行政性規范...


